Блок предохранителей и реле в салоне Лада Калина 2
Блок расположен в левой части панели приборов под рулем. Для доступа к блоку потяните за нижний левый угол крышки и освободите левую точку запирания, затем среднюю и две правые точки запирания. После чего освободите верхние точки запирания и снимите крышку.
Схема предохранителей Лада Калина 2
В таблице указан набор предохранителей для максимальной комплектации исполнения «люкс» (в зависимости от набора опций отдельные предохранители из данного набора в комплектации «Норма» могут не использоваться).
| Номер и сила тока* | Комплектация «Стандарт» | Комплектация «Норма» и «Люкс» |
| F1 (15А) | Катушки зажигания, Форсунки, Контроллер системы управления двигателем | |
| F2 (10/30А) | Дневные ходовые огни | Питание центрального блока кузовной электроники, Модуль двери водителя. |
| F3 (10/15А) | Аварийная сигнализация | Питание контроллера АКП, Привод управления АКП. |
| F4 (15А) | Контроллер системы надувных подушек безопасности | |
| F5 (7,5А) | Клемма 15 приборов | |
| F6 (7,5А) | Свет заднего хода | Свет заднего хода, Контроллер управления автоматической коробкой переключения передач |
| F7 (7,5А) | Клапан продувки адсорбера, ДМРВ/Датчик давления, ДК | Клапан продувки адсорбера, ДМРВ/Датчик давления, Датчик фаз, ДК. |
| F8 (7,5А/-) | Указатели поворота | Резерв |
| F9 (5А) | Габаритные огни правого борта. | |
| F10 (5А) | Габаритные огни левого борта, Подсветка приборов и клавиш, Фонари освещения номерного знака, Плафон освещения багажника и вещевого ящика. | |
| F11 (5А) | Задние ПТФ. | |
| F12 (10А) | Ближний свет и питание электрокорректора правого борта. | |
| F13 (10А) | Ближний свет и питание электрокорректора левого борта. | |
| F14 | Резерв | |
| F15 (10А) | Омыватель заднего стекла, Очиститель заднего стекла | |
| F16 (-/5А) | Резерв | Модуль двери водителя |
| F17 | Резерв | Резерв |
| F18 | Резерв | Резерв |
| F19 (20А/-) | Блокировка двери | Резерв |
| F20 | Резерв | |
| F21 (10А) | Дальний свет, правая фара | |
| F22 (10А) | Дальний свет, левая фара | |
| F23 (-/10А) | Резерв | Правая противотуманная фара |
| F24 (-/10А) | Резерв | Левая противотуманная фара |
| F25 (15А) | Обогрев передних сидений | |
| F26 (5А) | Блок управления антиблокировочной системой тормозов | |
| F27 (15А) | Прикуриватель | |
| F28 (15А) | Топливный насос | |
| F29 (20А) | Омыватель ветрового стекла | Омыватель ветрового стекла, Центральный блок кузовной электроники |
| F30 | Резерв | |
| F31 (-/7,2А) | Резерв | Муфта компрессора кондиционера, Контроллер системы автоматического управления климатической установкой |
| F32 (7,5А) | Сигналы торможения, Плафон освещения салона | |
| F33 (25А) | Блок управления антиблокировочной системой тормозов | |
| F34 (5А) | Комбинация приборов, Диагностический разъем | |
| F35 (-/10А) | Резерв | Центральный блок кузовной электроники |
| F36 (10А) | Звуковой сигнал | |
| F37 (10А) | Радиоаппарат/Мультимедийная система | |
| F38 | Резерв | |
| F39 | Резерв | |
| F40 | Резерв | |
| F41 | Резерв | |
| F42 (30А/-) | Электростеклоподъемники | Резерв |
| F43 (-/50А) | Резерв | Контроллер АМТ |
| F44 (30А) | Электровентилятор отопителя | Электровентилятор отопителя, Контроллер системы автоматического управления климатической установкой |
| F45 (25А) | Обогрев заднего стекла | |
| F46 | Резерв | |
* — первое значение для комплектации «стандарт», второе для «норма» и «люкс».
Предохранители, расположенные в монтажном блоке салона автомобиля с функцией «ЭРА-ГЛОНАСС» (в вариантном исполнении):
| № | Сила тока | Защищаемые цепи |
| F1 | 15A | Реле электровентилятора радиатора минимальной скорости К18 (в исполнении с кондиционером или климатической установкой) |
| Реле электровентилятора радиатора максимальной скорости К4 | ||
| Реле муфты компрессора кондиционера К10 (в исполнении с кондиционером или климатической установкой) | ||
| Контроллер системы управления двигателем | ||
| Форсунки цилиндров | ||
| Катушки зажигания (для 16-клап. ДВС) | ||
| F2 | 7.5A | Клапан заслонки впускной трубы (для 16-клап. ДВС 21127) |
| Клапан продува адсорбера | ||
| Датчики кислорода | ||
| Датчик фаз (для 16-клап. ДВС) | ||
| Датчик массового расхода воздуха (для 8-клап. ДВС или 16-клап. ДВС 21126) | ||
| Селектор АМТ (в исполнении с контроллером АМТ) | ||
| Блок управления системой контроля давления в шинах (кл. 30) (для а/м ЕВРО-6) | ||
| F3 | 5A | Контроллер антиблокировочной системы тормозов / Контроллер системы курсовой устойчивости |
| F4 | 15A | Контроллер управления системой надувных подушек безопасности |
| F5 | 7.5A | Реле стартера К2 / Контроллер автоматической коробки передач |
| Разгрузочное реле выключателя зажигания К1 | ||
| Реле обогрева заднего стекла К6 | ||
| Реле обогрева сидений К13 (в вариантном исполнении) | ||
| Реле обогрева ветрового стекла К14 (в вариантном исполнении) | ||
| Реле топливного насоса К12 | ||
| Контроллер системы управления двигателем | ||
| Аудиосистема | ||
| Контроллер электроусилителя рулевого управления | ||
| Переключатель стеклоочистителя | ||
| Центральный блок кузовной электроники (в вариантном исполнении) | ||
| Терминальный блок «ЭРА-ГЛОНАСС» | ||
| Выключатель педали сцепления (для механической коробки передач) | ||
| Выключатель педали тормоза | ||
| Комбинация приборов | ||
| Блок управления системой блокировки дверей (в вариантном исполнении) | ||
| Выключатель блокировки двери водителя | ||
| Выключатель кондиционера (в вариантном исполнении) | ||
| Датчик скорости автоматической коробки передач (в вариантном исполнении) | ||
| Переключатель режимов автоматической коробки передач (в вариантном исполнении) | ||
| Контроллер АМТ (в вариантном исполнении) | ||
| Блок управления системой контроля давления в шинах (для а/м ЕВРО-6) | ||
| F6 | 7.5A | Свет заднего хода |
| Указатели поворота | ||
| Блок управления системой парковки (в вариантном исполнении) | ||
| F7 | 10A | Дальний свет правого борта |
| F8 | 10A | Дальний свет левого борта |
| F9 | 5A | Габаритные огни правого борта |
| F10 | 5A | Габаритные огни левого борта |
| Фонари освещения номерного знака | ||
| Плафон освещения багажника | ||
| Подсветка приборов и клавиш | ||
| F11 | 5A | Задние противотуманные огни |
| F12 | 10A | Ближний свет правого борта |
| F13 | 10A | Ближний свет левого борта |
| Регулятор электрокорректора фар (в вариантном исполнении) | ||
| F14 | 20A | Центральный блок кузовной электроники: |
| (Очиститель ветрового стекла) (в вариантном исполнении) | ||
| Омыватель ветрового стекла | ||
| Очиститель ветрового стекла | ||
| Подрулевой переключатель стеклоочистителей | ||
| F15 | 10A | Очиститель заднего стекла |
| Омыватель заднего стекла | ||
| F16 | РЕЗЕРВ | |
| F17 | РЕЗЕРВ | |
| F18 | РЕЗЕРВ | |
| F19 | РЕЗЕРВ | |
| F20 | РЕЗЕРВ | |
| F21 | 15A | Электродвигатель топливного насоса |
| F22 | 7.5A | Выключатель сигнала торможения |
| Сигналы торможения | ||
| Дополнительный сигнал торможения | ||
| Контроллер антиблокировочной системы тормозов/ Контроллер системы курсовой устойчивости | ||
| Контроллер АМТ (в вариантном исполнении) | ||
| F23 | 5A | Комбинация приборов |
| Диагностический разъем | ||
| F24 | 10A | Реле звукового сигнала К8 |
| Звуковой сигнал | ||
| F25 | 15A | Патрон для подключения дополнительных потребителей в салоне |
| F26 | 5A | Терминальный блок «ЭРА-ГЛОНАСС» |
| F27 | 10A | Противотуманная фара правого борта (в вариантном исполнении) |
| F28 | 10A | Противотуманная фара левого борта (в вариантном исполнении) |
| F29 | 15A | Обогрев передних сидений (в вариантном исполнении) |
| F30 | 10A | Аудиосистема |
| F31 | 10A | Центральный блок кузовной электроники: (Указатели поворотов; Питание блока кузовной электроники) (в вариантном исполнении) |
| F32 | 30A | Центральный блок кузовной электроники: (Электростеклоподъемники; Замки дверей и багажника; Датчик дождя; Плафон освещения вещевого ящика; Плафон освещения багажника; Блок освещения салона; Дневные ходовые огни) (в вариантном исполнении) |
| F33 | 5A | Модуль двери водителя |
| F34 | 7.5A | Муфта компрессора кондиционера (в исполнении с кондиционером или климатической установкой) |
| Контроллер системы автоматического управления климатической установкой (в вариантном исполнении) | ||
| F35 | 15A | Контроллер автоматической коробки передач (в вариантном исполнении) |
| Привод управления автоматической коробкой передач (в вариантном исполнении) | ||
| F36 | 15A | Аварийная сигнализация |
| F37 | 15A | Выключатель привода замка багажника |
| Блок управления системой блокировки дверей | ||
| 5A | Выключатель привода замка багажника | |
| F38 | 10A | Дневные ходовые огни |
| F39 | 15A | Патрон для подключения дополнительных потребителей в багажнике |
| F40 | 10A | К разъему светотехники прицепа |
| F41 | 50A | Обогрев ветрового стекла (в вариантном исполнении) |
| F42 | 30A | Обогрев наружных зеркал (в вариантном исполнении) |
| Обогрев заднего стекла | ||
| F43 | 50A | Контроллер АМТ (в вариантном исполнении) |
| F44 | 30A | Электровентилятор отопителя |
| Контроллер системы автоматического управления климатической установкой (в вариантном исполнении) | ||
| F45 | 30A | Электростеклоподъемники передних дверей |
| F46 | РЕЗЕРВ |


Как правильно снять прикуриватель на Ладе Гранта
В представленном фотоотчете будет показано, как снять прикуриватель на Лада Гранта, для его замены или ремонта.Также вы узнаете по каким причинам выходит из строя прикуриватель.
Почему выходит из строя прикуриватель на Лада Гранте
Одной из основной причиной выхода из строя прикуривателя Лады Гранта, является короткое замыкание, которое может возникнуть сбоем в бортовой сети автомобиля либо по причине износа внутренних элементов.Также снятие прикуривателя на Гранте необходимо еще для замены перегоревшего диода (лампочки) освещения гнезда.
Какой купить прикуриватель
Если у вас не получается найти оригинальный прикуриватель Гранты, то отличной альтернативой ему будет запчасть произведенная номер по каталогу DA5100F0109
Как снять прикуриватель на Гранте
Первым делом, как и при работах с любым компонентом электроборудования автомобиля, нужно отключить питание аккумулятора и только после приступать к снятию прикуривателя.Аккуратно отгибаем края чтобы пластиковые выступы не мешали, освобождаем металлическую личинку. Затем необходимо снять центральную консоль торпеды.
Видео снятия центральной консоли Гранты
После этого на зеленом пластиковом корпусе с помощью отвертки нажимаем верхний фиксатор, и пробуем немного вытаскивать основание прикуривателя наружу.Теперь необходимо попытаться отсоединить разъем и полностью вытягиваем прикуриватель Гранты .
Устройство и предназначение прикуривателя
Устроен прибор просто:
- металлический патрон со спиралью из нихрома;
- кнопка;
- пластиковая рукоятка.
На приборной панели есть специальная розетка, в которую вставляется прикуриватель. При нажатии на рукоятку устройство подключается к бортовой сети автомобиля. Через нихромовую спираль проходит ток, она нагревается. Как только температура становится максимальной, срабатывает термореле, происходит щелчок, прикуриватель возвращается в первоначальное положение.
На первых моделях автомобилей прибор использовался непосредственно для прикуривания, но с развитием технологий его применение значительно расширилось. В настоящее время все внешние электронные устройства подключают через него: пылесосы, навигаторы, зарядные устройства, антирадары, мобильные телефоны.
Характерные неисправности
Причины, по которым не работает прикуриватель, могут быть разные. Одна из них — сгоревший предохранитель. Он может перегореть из-за подключаемых устройств, например компрессора или разветвителя. Для устранения неисправности нужно открыть монтажный блок, вытащить сгоревший предохранитель и вставить новый. Подойдет обычный флажковый предохранитель на 15 или 20 Ампер.
Вторая не менее популярная неисправность – разогнутые внутри устройства усики-контакты. Если пользоваться часто зарядным устройством, металлические усики со временем разгибаются. Для возвращения прибору работоспособности усики следует немного подогнуть с помощью плоской отвертки (автор видео — Andrei Che).
Инструкция по ремонту и замене
Если причина не в предохранителе и усиках, то возможно не работает устройство. В этом случае его нужно заменить. Усложняет замену разборка пластикового тоннеля пола.
Процедура замены на Лада Калана и Лада Гранта Лифтбек похожа, состоит из последовательности действий:
- В первую очередь нужно снять клемму АКБ.
- Затем выкручивают три крепежных болта, которые держат пластиковую накладку ручного тормоза.
- Далее следует выкрутить концевик ручника.
- В задней части тоннеля есть саморез, который выкручиваем на следующем этапе.
- Затем выкручиваем крепления тоннеля пола сбоку.
- Далее снимаем чехол с ручки переключения передач.
- Теперь можно поднимать тоннель и приступать к замене прикуривателя.
- Перед заменой нужно отсоединить питание.
- Далее нажимаем на защелки, удерживающие прикуриватель, и можно его снимать.
- Вставляем новую деталь и выполняем обратные действия по сборке.
Заменить неработающий прикуриватель просто, с этой процедурой справится любой автолюбитель.
В этом видео рассказывается, как заменить предохранитель 12-вольтовой розетки на Лада Гранта (автор видео – remgar).
Схема реле Лада Калина 2
Указан набор реле для максимальной комплектации исполнения «люкс» (в зависимости от набора опций отдельные реле из данного набора в комплектации «Норма» могут не использоваться).
| Номер | Сила тока* | Комплектация «Стандарт» | Комплектация «Норма» и «Люкс» |
| К1 | 50А | Разгрузочное реле | |
| К2 | 30А | Дополнительное реле стартера | |
| К3 | 30/40А | Реле стеклоочистителя | Реле электровентилятора охлаждения радиатора |
| К4 | 30А | Реле электровентилятора охлаждения радиатора | |
| К5 | 30А | Реле указателей поворота | Реле муфты компрессора кондиционера |
| К6 | 30А | Реле электростеклоподъемников | Реле обогрева заднего стекла |
| К7 | 20А | Реле дальнего света фар | |
| К8 | 20А | Реле звукового сигнала | |
| К9 | 20А | Реле ближнего света фар | |
| К10 | -/20А | Резерв | Реле света заднего хода (в комплектациях с АКПП) |
| К11 | 20А | Главное реле ЭСУД | |
| К12 | 20А | Реле топливного насоса | |
| К13 | 20А | Реле обогрева сидений | |
| К14 | 30/70А | Реле аварийной сигнализации | Реле обогрева ветрового стекла |
| К15 | 30А/- | Реле обогрева заднего стекла | — |
| К16 | 30А/- | Реле аварийной сигнализации дополнительное | — |
* — первое значение для комплектации «стандарт», второе для «норма» и «люкс».
Реле, расположенные в монтажном блоке салона автомобиля с функцией «ЭРА-ГЛОНАСС» (в вариантном исполнении):
| # | Номинал | Назначение реле |
| K1 | 50A | Разгрузочное реле выключателя зажигания |
| K2 | 30A | Дополнительное реле стартера |
| K3 | 30A | Реле очистителя ветрового стекла (в вариантном исполнении) / Реле автозапуска |
| K4 | 30A | Реле электровентилятора радиатора максимальной скорости (в вариантном исполнении) |
| K5 | 30A | Реле поворотов и аварийной сигнализации (в вариантном исполнении) |
| K6 | 30A | Реле обогрева заднего стекла |
| K7 | 20A | Реле дальнего света фар |
| K8 | 20A | Реле звукового сигнала |
| K9 | 20A | Реле ближнего света фар |
| K10 | 20A | Реле муфты компрессора кондиционера (в исполнении с кондиционером или климатической установкой) |
| K11 | 20A | Главное реле ЭСУД |
| K12 | 20A | Реле топливного насоса |
| K13 | 20A | Реле обогрева сидений (в вариантном исполнении) |
| K14 | 70A | Реле обогрева ветрового стекла (в вариантном исполнении) |
| K15 | 20А | Реле включения аварийной сигнализации |
| K16 | 30А | Реле питания аварийной сигнализации/реле включения лампы заднего хода (в вариантном исполнении) |
| K17 | 30А | Реле питания электростеклоподъемников/реле вентилятора радиатора в режиме автозапуска |
| K18 | 30А | Реле электровентилятора радиатора минимальной скорости (в вариантном исполнении) |
Процесс замены
Для того чтобы поменять предохранитель прикуривателя модели Лада Калина, необходимо добраться до монтажного блока. Он должен располагаться за декоративной панелью, в левой части передней консоли.
- Отщелкиваем пластиковые фиксаторы.
- Берем пинцет, находящийся в монтажном блоке.
- Вытаскиваем предохранитель №20 (первое поколение). Другой защитный элемент имеет №18 (второе поколение).
- Устанавливаем новый предохранитель.
Важно, чтобы значение новой детали совпадало с рекомендованными производителем (15 ампер – первая генерация, 20 ампер – вторая). В противном случае велика вероятность увеличенной нагрузки по цепи, срабатывания предохранителя
Это может вызвать оплавление проводки, короткое замыкание и пожар.
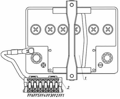
Монтажный блок предохранителей и реле в моторном отсеке Лада Калина 2
Указан набор предохранителей для исполнения «люкс». В других исполнениях отдельные предохранители из данного набора могут не использоваться.
| № предохранителя | Сила тока | Защищаемые цепи |
| FF1 | 50А | Обогреватель ветрового стекла |
| FF2 | 60А | Генератор |
| FF3 | 60А | Генератор |
| FF4 | 40А (без климатической установки — 30А) | Электровентилятор охлаждения радиатора |
| FF5 | 50А | Электромеханический усилитель рулевого управления |
| FF6 | 40А | Блок управления антиблокировочной системой тормозов |
Предохранители, расположенные в блоке предохранителей моторного отсека автомобиля с функцией «ЭРА-ГЛОНАСС» (в вариантном исполнении):
| # | Номинал | Защищаемая цепь |
| FF1 | 60A | Генератор |
| FF2 | 60A | Генератор |
| FF3 | 30А | Электровентилятор охлаждения радиатора |
| 40A | Электровентилятор охлаждения радиатора (в исполнении с кондиционером или климатической установкой) | |
| FF4 | 40A | Контроллер антиблокировочной системы тормозов / Контроллер системы курсовой устойчивости |
| FF5 | 25А | Контроллер антиблокировочной системы тормозов / Контроллер системы курсовой устойчивости |
| FF6 | 50А | Контроллер электроусилителя рулевого управления |
Внимание!
Схема реле и предохранителей может отличаться в зависимости от комплектации и даты выпуска автомобиля.
Россия, Пенза 2015г
Лада Калина — как проект стартовала аж в 1993 году. В 1998 автомобиль имел название Lada Kalina. Презентация концепт кара прошла в 1999 – хетчбек, в 2000 — седан. Серийный выпуск с 2005 по май 2014. На смену первому поколению Лады калины(ВАЗ Лада 1118) пришло второе поколение Kalina 2(ВАЗ Лада 2192).
- Комплектации:- Стандарт;- Норма;- Норма с элементами Люкс;
- — Люкс.
Блок предохранителей — находится слева от рулевой колонки на панели приборов. Для доступа необходимо снять крышку(на защелках). Блок предохранителей КСУД — находится в центральной консоли. Дополнительный блок реле — находится в центральной консоли, доступ справа. На Ладе Калина может быть установлен монтажный блок фирмы DELPHI, отличающийся расположением резервных предохранителей.
Монтажный блок 11173-11193
Дополнительный блок реле
Разъем диагностики и предохранители КСУД



